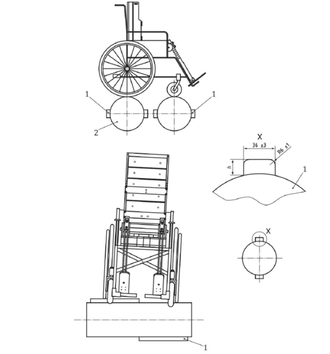
Compostos por dois tambores cilíndricos horizontais e paralelos de 250 mm ± 25 mm de diâmetro. A distância entre os tambores pode ser ajustada às mesmas dimensões que a distância entre eixos da cadeira de rodas a ser testada. A roda traseira fixa com a roda dianteira gira em velocidades diferentes devido ao tamanho das rodas das cadeiras — isso é ajustado pelo jogo de polias e correias instaladas. A disposição dos tambores é conduzida com uma velocidade superficial “Tambor de referência” de 1,0 m/s ± 0,1 m/s sobre 10 rotações.
Características Técnicas:
• Estrutura tubular;
• Tambor motorizado;
• Tambor movido;
• Sistema de ajuste de distância entre centro de tambores;
• IHM 7” touch screen;
• Sistema de fixação no braço da cadeira;
• Obstáculos para ensaio.
Aplicação do Produto
• Cadeiras de rodas
Norma aplicada
• NBR 7176-8 item 5.8 figura 6.








Avaliações
Não há avaliações ainda.